Search

EN

LEDme II Showcase

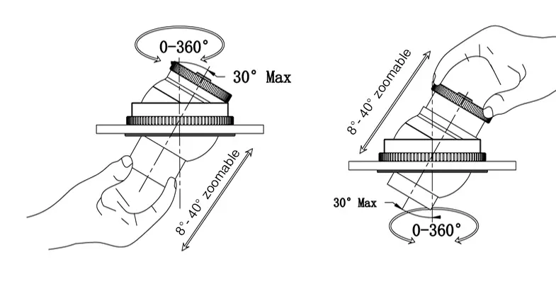
ASLIR5F Front and Rear Adjustable Zoomable Showcase Light

Adjustable Focus Front and Rear

ASLIR5F Front and Rear Adjustable Zoomable Showcase Light

WAC's leading SUBROSA anti-glare technology, with precise zoomable light distribution design, can easily adjust the light spot according to the characteristics of the exhibits. According to different showcases or applications, a patented structural design, which can simultaneously support zoomable operations from the front or from the back (one light for dual purposes).

Features

Front and rear Zoomable

Creative use of patented structural design to support zoomable operation from the front or from the back at the same time (one light for two purposes)

Henan Museum

Specifications
ModelLEDDriverBeamCRI
CCTFinish

ASLIR5F

LEDme II

LM  LED 6W

M  MTB driver

N  Single wire

F   8°~ 40°

9   Ra90

A  97

30   3000K

40   4000K

BK   Black

ModelLEDDriverBeamCRI
CCTFinish

ASLIR5F

LEDme II

LM  LED 6W

NR  Single Wire

ER  ON-OFF

DR  0-10V Dimming

F   8°~ 40°

9   Ra90

A  97

30   3000K

40   4000K

BK   Black

WT   White

Example: ASLIR5FLM-MF930BK;  Note: Except for ASLIR5FLM-ER/DR, the rest is without driver.

Documents